抽氣止回閥產品概述
抽氣止回閥是一種用于大型火電機組汽輪機抽汽系統,防止蒸汽倒流或事故狀態高壓給水反流到汽輪機,對汽機、水泵等重要設備起到保護作用的閥門,其能在管道介質逆流、斷電、事故等非正常狀態下瞬間關閉。該閥快關功能一般通過在閥體外部安裝彈簧復位單作用直行程氣動執行機構實現,汽輪機正常工作時,壓力為0.5~0.7MPa的氣源經球閥進入二聯件處理,再進入電磁閥,然后經快排閥進入氣缸進氣口,推動缸內彈簧壓縮蓄能,此時閥瓣在介質作用下可以自由啟閉,當接受到事故信號時,電磁閥失電,氣源切斷,快排閥在氣缸裝置中氣壓推動下,快速排氣,彈簧復位,活塞桿下移,并通過傳力桿推動搖桿旋轉,從而使閥瓣快速關閉,關閉時間≤0.5秒,同時,在倒流介質的作用力下閥實現徹底密封,確保汽輪機平安無事。
抽氣止回閥部件材料
| 序號 | 部件名稱 | 材料名稱 | ||||
| 1 | 閥 體 | A216 WCB | A217 WC1 | A217 WC6 | A217 WC9 | A217 C12A |
| 2 | 閥 瓣 | A216 WCB | A217 WC1 | A217 WC6 | A217 WC9 | A217 C12A |
| 3 | 搖 桿 | A216 WCB | A217 WC1 | A217 WC6 | A217 WC9 | A217 C12A |
| 4 | 搖 桿 軸 | A105 | A182 F11 | A182 F11 | A182 F22 | A182 F91 |
| 5 | 閥 蓋 | A216 WCB | A217 WC1 | A217 WC6 | A217 WC9 | A217 C12A |
| 6 | 填料壓蓋 | A216 WCB | A217 WC1 | A217 WC6 | A217 WC9 | A217 C12A |
| 7 | 填 料 | GRAPHITE | GRAPHITE | GRAPHITE | GRAPHITE | GRAPHITE |
| 8 | 螺 柱 | A193 B7 | A193 B16 | A193 B16 | A193 B16 | A193 B16 |
| 9 | 螺 母 | A194 2H | A194 16 | A194 16 | A194 16 | A194 16 |
抽氣止回閥性能規范
| 公稱壓力Class | 150 | 300 | 600 | 900 | 1500 |
| 殼體強度試驗壓力(MPa) | 3.0 | 7.5 | 16.5 | 22.5 | 39.0 |
| 液體高壓密封試驗壓力(MPa) | 2.2 | 5.5 | 12.1 | 16.5 | 28.6 |
| 氣體低壓密封試驗壓力(MPa) | 0.5~0.7 | 0.5~0.7 | 0.5~0.7 | 0.5~0.7 | 0.5~0.7 |
| 設計制造 | JB/T 12002、DL/T 1822、NB/T 47044、ASME B16.34 | ||||
| 結構長度 | GB/T 12221、DL/T 1822、ASME B16.10 | ||||
| 焊接坡口 | GB/T 12224、DL/T 1822、NB/T 47044、ASME B16.25或按訂貨合同要求 | ||||
| 檢驗試驗 | GB/T 13927、NB/T 47044、API 598 | ||||
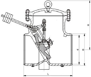
抽氣止回閥主要尺寸
| 公稱壓力 Class | 公稱尺寸 NPS | 外形尺寸/mm | 重錘 | |||
| d | D | L | H | |||
| 150 | 6 | 152 | 182 | 320 | 256 | 無 |
| 8 | 201 | 235 | 450 | 300 | 無 | |
| 10 | 252 | 295 | 540 | 352 | 無 | |
| 14 | 328 | 380 | 610 | 437 | 無 | |
| 16 | 376 | 435 | 650 | 480 | 無 | |
| 18 | 425 | 486 | 740 | 533 | 無 | |
| 20 | 472 | 540 | 790 | 555 | 有 | |
| 24 | 568 | 645 | 915 | 615 | 有 | |
| 28 | 670 | 740 | 1040 | 781 | 有 | |
| 30 | 715 | 800 | 1120 | 821 | 有 | |
| 36 | 860 | 950 | 1500 | 929 | 有 | |
| 以上尺寸僅供參考,表中未列出的其他規格參數,請咨詢汗越閥門技術部! | ||||||
抽氣止回閥結構圖

如果你需訂購我廠電站閥系列產品,咨詢時煩請說明公稱通徑、公稱壓力、材質、使用介質、工作溫度、端部連接形式等,本產品氣動執行器默認安裝在左側(順氣流方向看),若用戶有要求,需在合同中注明,也可設置在右側。


