電站堵閥產品概述
堵閥是一種由堵板和導流套可互換的既可用于水壓試驗又可作為管道使用的雙功能裝置,其通常安裝在電站鍋爐過熱器出口和再熱器進、出口的蒸汽管道上,當機組整體水壓試驗時,將隔離組件裝入閥體內,擰緊壓板上的預緊螺釘,使堵板、O形圈與密封面之間產生相應的初始密封比壓,阻擋介質流向出口側,隨著試壓介質的壓力逐漸升高到要求值,在介質作用力下,閥門可達到可靠的密封,而且介質壓力越大,密封性能越好,水壓試驗結束后,取出隔離組件,并將導流套裝入閥內,以保護閥座密封面和減小流阻,此時該閥作為管道使用,下次水壓試驗時則取出導流套,再裝入堵板。本產品的出、入口端與配管均采用焊接形式連接安裝,必要時可通過過度管來實現閥門與配管材質的可焊性。
電站堵閥部件材料
| 序號 | 部件名稱 | 材料名稱 | |||||
| 1 | 閥 體 | A216 WCB | A217 WC6 | A217 WC9 | ZG20CrMo | ZG20CrMoV | ZG15Cr1Mo1V |
| 2 | 堵 板 | Q235-B | Q235-B | Q235-B | Q235-B | Q235-B | Q235-B |
| 3 | 閥 蓋 | A216 WCB | A217 WC6 | A217 WC9 | ZG20CrMo | ZG20CrMoV | ZG15Cr1Mo1V |
| 4 | 密 封 圈 | GRAPHITE | GRAPHITE | GRAPHITE | GRAPHITE | GRAPHITE | GRAPHITE |
| 5 | 四 開 環 | A182 F6a CL.2 | A182 F11 | A182 F22 | 15CrMo | 12Cr1MoV | 15Cr1Mo1V |
| 6 | 蓋 板 | A105 | A182 F11 | A182 F22 | 15CrMo | 12Cr1MoV | 15Cr1Mo1V |
| 7 | 導 流 套 | A216 WCB | A217 WC6 | A217 WC9 | ZG20CrMo | ZG20CrMoV | ZG15Cr1Mo1V |
| 8 | 螺 柱 | A193 B7 | A193 B16 | A193 B16 | 35CrMoA | 25Cr2Mo1VA | 25Cr2Mo1VA |
| 9 | 螺 母 | A194 2H | A194 16 | A194 16 | 35CrMoA | 25Cr2Mo1VA | 25Cr2Mo1VA |
電站堵閥性能規范
| 公稱壓力PN(MPa) | 20.0 | 25.0 | 32.0 | — | — | — |
| 工作壓力(MPa) | — | — | — | 10.0 | 14.0 | 17.0 |
| 工作溫度(℃) | — | — | — | 540 | 540 | 540 |
| 殼體水壓試驗壓力(MPa) | 30.0 | 37.5 | 48.0 | 30.0 | 40.0 | 48.0 |
| 密封水壓試驗壓力(MPa) | 22.0 | 27.5 | 35.2 | 12.5 | 17.5 | 21.3 |
| 氣密封試驗壓力(MPa) | 0.5~0.7 | 0.5~0.7 | 0.5~0.7 | 0.5~0.7 | 0.5~0.7 | 0.5~0.7 |
| 設計制造 | GB/T 29462-2012 電站堵閥 | |||||
| 結構長度 | GB/T 29462或符合我廠與用戶協商確定的其他尺寸 | |||||
| 對焊連接 | NB/T 47044或按訂貨合同要求 | |||||
| 檢驗試驗 | GB/T 29462-2012 電站堵閥 | |||||
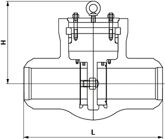
電站堵閥主要尺寸
| 公稱壓力 PN | 公稱尺寸 DN | 外形尺寸/mm | 公稱壓力 PN | 公稱尺寸 DN | 外形尺寸/mm | ||
| L | H | L | H | ||||
| 63 ~ 100 | 100 | 350 | — | 63 ~ 100 | 450 | 1100 | — |
| 125 | 400 | — | 500 | 1100 | — | ||
| 150 | 450 | — | 550 | 1100 | — | ||
| 175 | 500 | — | 600 | 1150 | — | ||
| 200 | 550 | — | 650 | 1350 | — | ||
| 225 | 600 | — | 700 | 1500 | — | ||
| 250 | 650 | — | 750 | 1600 | — | ||
| 275 | 700 | — | 800 | 1600 | — | ||
| 300 | 750 | — | 850 | 1750 | — | ||
| 350 | 850 | — | 900 | 1800 | — | ||
| 400 | 900 | — | 1000 | 2000 | — | ||
| 以上尺寸僅供參考,表中未列出的其他規格參數,請咨詢汗越閥門技術部! | |||||||
電站堵閥結構圖

如果你需訂購我廠其他電站閥產品,咨詢時煩請說明公稱通徑、壓力等級、材質、使用介質及工作溫度等,我廠可按客戶需求承接定制,本產品出廠時堵板或導流套均未裝入,堵板、導流套作為附件另外裝箱隨閥一起發往目的地。


