電站抽汽止回閥產品概述
電站抽汽止回閥是種適用于公稱壓力小于或等于PN420,使用溫度不大于570℃的火力發電廠汽輪機抽汽系統用抽汽止回閥,其具有閥瓣自由關閉和氣動裝置輔助閥門快速關閉的雙重逆流保護功能,氣動開啟狀態下,閥瓣可在介質作用下自由啟閉,在電磁閥失電、氣路失氣的非正常狀態下,氣缸輔助閥門快速關閉,關閉時間不大于0.5s。該閥通常安裝在汽輪機的抽汽管道上,用來防止介質倒流損壞汽輪機組,汽輪機運行時,當負荷下降到相應數值后或發生緊急停機時,它能快速切斷汽輪機與抽汽管路的通道,以防止蒸汽通過抽汽管道回流到汽輪機中,否則將引起轉速非正常飛升或汽輪機內部受熱部件溫度的急劇變化。本產品有執行機構側裝和頂裝兩種,其中側置氣動蓄能旋啟式抽汽止回閥口徑較大時,可根據用戶需要,設計重錘,用以平衡閥瓣組件重力矩,當介質正向流動時,幫助打開閥,并在運行中保持閥平穩,減少振動。
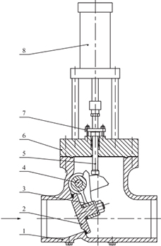
電站抽汽止回閥部件材料
| 序號 | 部件名稱 | 材料名稱 | |||||
| 1 | 閥 體 | WCB | WC1 | WC6 | WC9 | C12A | ZG20CrMoV |
| 2 | 閥 瓣 | WCB | WC1 | WC6 | WC9 | C12A | ZG20CrMoV |
| 3 | 搖 桿 | WCB | WC1 | WC6 | WC9 | C12A | ZG20CrMoV |
| 4 | 搖 桿 軸 | 2Cr13 | 304 | 304 | 304 | 316 | 304 |
| 5 | 閥 桿 | 2Cr13 | 304 | 304 | 304 | 316 | 304 |
| 6 | 閥 蓋 | WCB | WC1 | WC6 | WC9 | C12A | ZG20CrMoV |
| 7 | 填料壓蓋 | WCB | WC1 | WC6 | WC9 | C12A | ZG20CrMoV |
| 8 | 氣 缸 | 20 | 20 | 20 | 20 | 20 | 20 |
電站抽汽止回閥技術規范
| 公稱壓力PN(MPa) | 1.6 | 2.5 | 4.0 | 6.3 | 10.0 | 16.0 |
| 殼體強度試驗壓力(MPa) | 2.4 | 3.75 | 6.0 | 9.45 | 15.0 | 24.0 |
| 液體高壓密封試驗壓力(MPa) | 1.76 | 2.75 | 4.4 | 6.93 | 11.0 | 17.6 |
| 氣體低壓密封試驗壓力(MPa) | 0.5~0.7 | 0.5~0.7 | 0.5~0.7 | 0.5~0.7 | 0.5~0.7 | 0.5~0.7 |
| 設計制造 | JB/T 12002、DL/T 1822、NB/T 47044、ASME B16.34 | |||||
| 結構長度 | GB/T 12221、DL/T 1822、ASME B16.10 | |||||
| 焊接坡口 | GB/T 12224、DL/T 1822、NB/T 47044、ASME B16.25或按訂貨合同要求 | |||||
| 檢驗試驗 | GB/T 13927、NB/T 47044、API 598 | |||||
電站抽汽止回閥典型結構圖

如果你需訂購我廠其他電站閥產品,咨詢時煩請說明產品名稱、公稱通徑、公稱壓力、承壓件材質、介質溫度、端部連接型式(對焊、法蘭等),本產品氣缸工作壓力按0.5~0.7MPa設計,系統氣源壓力過低時,亦可造成此閥不能全開啟。


